Ürünlerimiz

PAW BURÇ

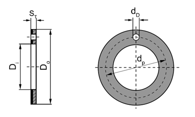
PAW BURÇ

Paw Burçlar – Sessiz, Güçlü ve Dayanıklı

Paw burçlar, yüksek performanslı yataklama çözümleri sunan, titreşim sönümleme ve sessiz çalışma avantajı sağlayan gelişmiş makine elemanlarıdır. Sürtünmeyi minimize eden özel yapısı sayesinde hem bakım ihtiyacını azaltır hem de ekipman ömrünü uzatır.

Kompakt tasarımı ve dayanıklı malzeme kombinasyonları ile paw burçlar, otomotivden tarım makinelerine, endüstriyel sistemlerden özel üretim hatlarına kadar çok geniş bir kullanım alanına sahiptir.

  • Yüksek aşınma direnci ile uzun ömürlü kullanım
  • Bakım gerektirmeyen yapısıyla düşük işletme maliyeti
  • Titreşimi azaltır, sessiz çalışmayı destekler
  • Hassas toleranslarda üretilmiştir – güvenli uyum sağlar
  • Farklı ölçü ve montaj tipleriyle esnek uygulama imkanı

Enerji verimliliği, sessiz çalışma ve dayanıklılığı bir araya getiren Paw burçlar, modern makinelerin gizli kahramanıdır. Yüksek performans ve güvenilirlik arayanlar için ideal tercihtir.

Detaylı Bilgi

PAW1010201,50
PAW1212241,50
PAW1414261,50
PAW1616301,50
PAW1818321,50
PAW2020361,50
PAW2222381,50
PAW2626441,50
PAW2828481,50
PAW3232541,50
PAW3838621,50
PAW4242661,50
PAW4848742,00
PAW5252782,00
PAW6262902,00